SAR Barczak antenna összegző/elágaztató
Kód: L-ZLA0996Termék részletes leírása
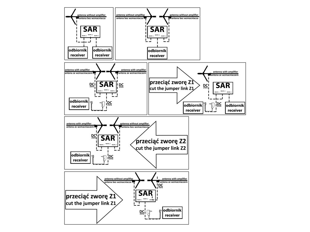
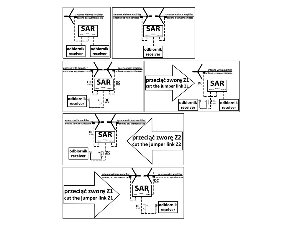
A SAR egy transzformátoron alapuló antenna elosztó összegző. A
(BE/KI_1 / 2 / 3) csatlakozóknál létezik egy egyenáramú átvezetés, amely lehetővé teszi az antennaerősítők táplálását a
koaxiális kábelen keresztül.
Megjegyzés: Ha csak az egyik antenna erősítője van táplálva, megszakítsa az áthidalót (Z1 vagy Z2) az
erősítő nélküli antenna áramkörében.
Két üzemmódban működhet:
1. Összegző – két RTV antenna jeleit egy vevőhöz összegezhető.
2. Elosztó – egy antenna jeleit két RTV vevőhöz osztható.
Köszönjük bizalmát és a Barczak termékek választását. Biztosak vagyunk benne, hogy megfelelnek az Ön
elvárásainak. Kívánunk Önnek jó vételt és elégedettséget a készülék munkájával.
Műszaki adatok:
Frekvenciasáv: URH-FM, VHF, UHF
Csatornák: 1-60
Frekvenciatartomány: 1 - 694 [MHz]
Állóhullám arány (VSWR): < 2,0
Csillapítás: akár 4 dB
Kivezetések száma: 3
Csatlakozók típusa: csatlakozók
Bemeneti impedancia: 75[ ]
Kimeneti impedancia: 75[ ]
Burkolat anyaga: ABS
Szerelés árbocra: bilincses rögzítés
Kiegészítő paraméterek
| Kategória: | Elektromos telepítés |
|---|---|
| Súly: | 0.09 kg |
| EAN vonalkód: | 5907799750572 |
Termékértékelés
Legyen az első, aki véleményt ír ehhez a tételhez!
Beszélgetés
Legyen az első, aki véleményt ír ehhez a tételhez!
